专利数据库
统计分析
产业报告
专利数据监控
产业人才
行业动态
产业政策法规
维权援助
个人中心
详情
文本
图像
标题
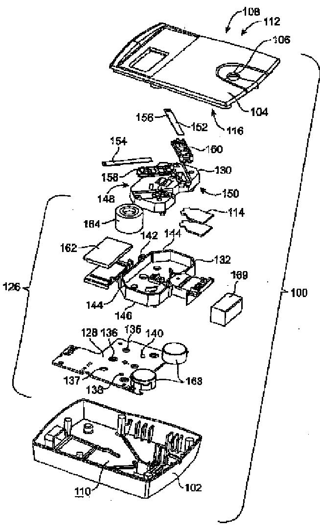
体液検体計測器とカートリッジとの複合システム
授权日
1900-01-01
公开(公告)号
JP2007528005A
申请日
2005-03-07
公开(公告)日
2007-10-04
当前申请(专利权)人
メトリカ·インコーポレーテッド
发明人
ラメル,ウルス·エイ | テイ,ディラン | スティバース,キャロル·アール | ブラット,ジョエル·エム | アービン,ベンジャミン·アール
简单同族
AU2005220814A1 | BRPI0508513A | BRPI0508513A2 | CA2560638A1 | CR8604A | EP1733206A2 | EP1733206A4 | JP2007528005A | KR1020070041429A | MA28509B1 | MXPA06010179A | NO20064322L | RU2006135394A | RU2377069C2 | US20050227370A1 | WO2005086744A2 | WO2005086744A3
简单同族成员数量
17
简单同族被引用专利总数
148
诉讼案件数
0
法律状态/事件
驳回 | 权利转移
抱歉,您的浏览器不支持PDF预览,请点击链接下载PDF文件