专利数据库
统计分析
产业报告
专利数据监控
产业人才
行业动态
产业政策法规
维权援助
个人中心
详情
文本
图像
标题
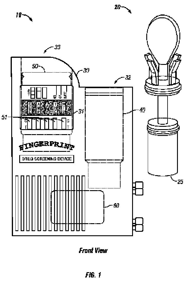
被分析物試験、確認、および提供者身元検証のための総合デバイス
授权日
1900-01-01
公开(公告)号
JP2011511948A
申请日
2009-02-10
公开(公告)日
2011-04-14
当前申请(专利权)人
バイオテックファーマ·コーポレイション
发明人
ギルギス,ラウーフ·エイ
简单同族
AU2009213140A1 | CA2715284A1 | CN101999074A | EP2252891A1 | JP2011511948A | JP2011511948A5 | KR1020100121511A | US20080194041A1 | US7879623 | WO2009102420A1
简单同族成员数量
10
简单同族被引用专利总数
72
诉讼案件数
0
法律状态/事件
撤回
抱歉,您的浏览器不支持PDF预览,请点击链接下载PDF文件