专利数据库
统计分析
产业报告
专利数据监控
产业人才
行业动态
产业政策法规
维权援助
个人中心
详情
文本
图像
标题
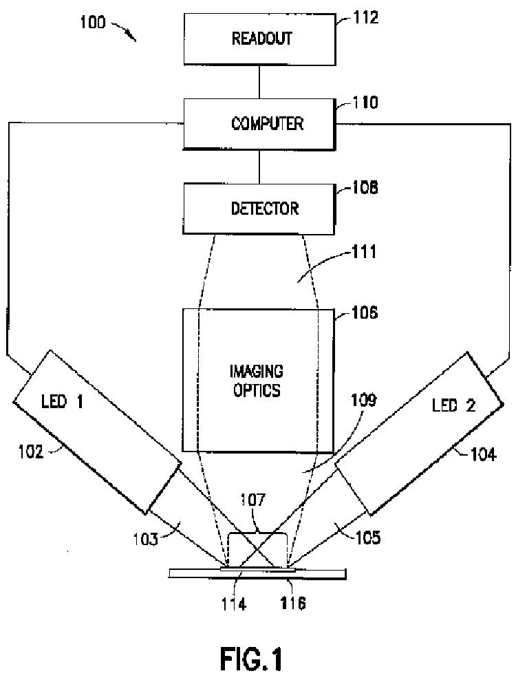
細胞計数及び分析のための方法、システム及び組成
授权日
1900-01-01
公开(公告)号
JP2010517046A
申请日
2008-01-25
公开(公告)日
2010-05-20
当前申请(专利权)人
ベクトン·ディキンソン·アンド·カンパニー
发明人
エドワード ゴールドバーグ | ジェフ ブルッカー
简单同族
AU2008207835A1 | AU2008207835B2 | BRPI0807971A2 | BRPI0807971B1 | CA2676077A1 | CA2676077C | EP2109765A2 | EP2439515A2 | EP2439515A3 | EP2439515B1 | ES2601201T3 | JP2010517046A | JP2015038513A | US20080212069A1 | US20100261197A1 | US20130045529A1 | US7738094 | US8248597 | US9097640 | WO2008092075A2 | WO2008092075A3
简单同族成员数量
21
简单同族被引用专利总数
136
诉讼案件数
0
法律状态/事件
驳回
抱歉,您的浏览器不支持PDF预览,请点击链接下载PDF文件