专利数据库
统计分析
产业报告
专利数据监控
产业人才
行业动态
产业政策法规
维权援助
个人中心
详情
文本
图像
标题
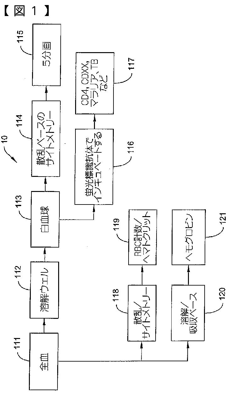
マイクロ流体フォーマットにおけるアッセイ実装
授权日
2013-12-13
公开(公告)号
JP5431732B2
申请日
2006-12-29
公开(公告)日
2014-03-05
当前申请(专利权)人
ハネウェル·インターナショナル·インコーポレーテッド
发明人
グ,ユアンドン | パドマナバン,アラヴィンド
简单同族
CN101389947A | CN101389947B | EP1966588A2 | EP1966588B1 | JP2009522556A | JP5431732B2 | US20070190525A1 | US7553453 | WO2007076549A2 | WO2007076549A3
简单同族成员数量
10
简单同族被引用专利总数
169
诉讼案件数
0
法律状态/事件
授权
抱歉,您的浏览器不支持PDF预览,请点击链接下载PDF文件