专利数据库
统计分析
产业报告
专利数据监控
产业人才
行业动态
产业政策法规
维权援助
个人中心
详情
文本
图像
标题
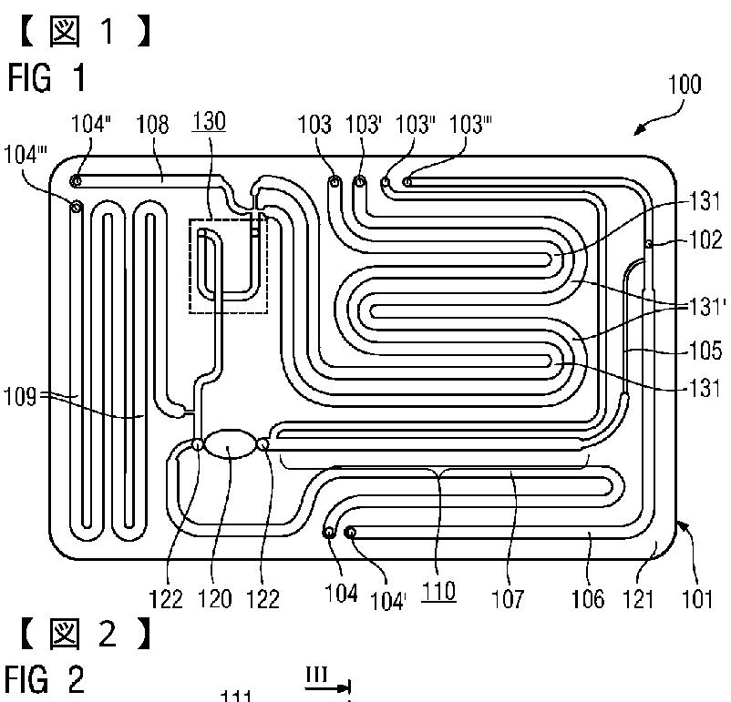
使い捨てカートリッジ内のDNAまたはタンパク質の総合的かつ自動的な分析装置、このようなカートリッジの製造方法、およびこのようなカートリッジを使用したDNAまたはタンパク質分析のための操作方法
授权日
2010-07-09
公开(公告)号
JP4546534B2
申请日
2005-10-17
公开(公告)日
2010-09-15
当前申请(专利权)人
シーメンス アクチエンゲゼルシヤフト
发明人
バルラーク、ハイケ | ビルクレ、ジークフリート | グンブレヒト、ヴァルター | キューン、ダニエラ | パウリカ、ペーター | シュタンツェル、マンフレート
简单同族
CN100534619C | CN101039750A | CN101039751A | CN101039751B | EP1796838A1 | EP1796838B1 | EP1807208A1 | EP1807208B1 | JP2008517259A | JP4546534B2 | US20090130658A1 | US20090136922A1 | US7851227 | WO2006042734A1 | WO2006042838A1
简单同族成员数量
15
简单同族被引用专利总数
85
诉讼案件数
0
法律状态/事件
授权 | 权利转移
抱歉,您的浏览器不支持PDF预览,请点击链接下载PDF文件