专利数据库
统计分析
产业报告
专利数据监控
产业人才
行业动态
产业政策法规
维权援助
个人中心
详情
文本
图像
标题
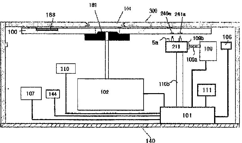
デジタルバイオディスクおよびデジタルバイオディスクドライバ装置ならびに方法
授权日
1900-01-01
公开(公告)号
JP2008541043A
申请日
2006-05-06
公开(公告)日
2008-11-20
当前申请(专利权)人
サムスン エレクトロニクス カンパニー リミテッド
发明人
ユウ、ジャエ シェーン
简单同族
CN101171346A | CN101171346B | EP1888778A1 | EP1888778A4 | EP1888778B1 | JP2008541043A | JP4896127B2 | KR101003351B1 | KR1020080005224A | US20090221431A1 | US8263386 | WO2006121266A1
简单同族成员数量
12
简单同族被引用专利总数
114
诉讼案件数
0
法律状态/事件
未缴年费 | 权利转移
抱歉,您的浏览器不支持PDF预览,请点击链接下载PDF文件