专利数据库
统计分析
产业报告
专利数据监控
产业人才
行业动态
产业政策法规
维权援助
个人中心
详情
文本
图像
标题
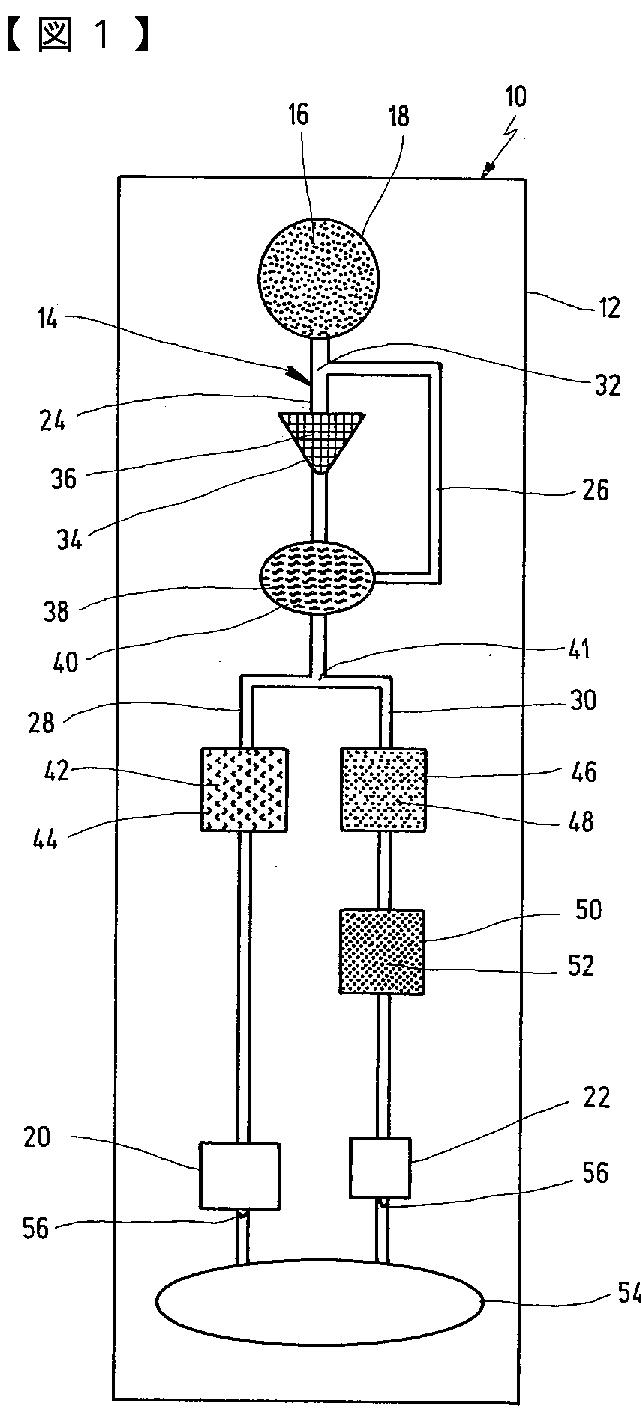
血液分析のための分析用検査要素および方法
授权日
2008-09-26
公开(公告)号
JP4192103B2
申请日
2004-01-29
公开(公告)日
2008-12-03
当前申请(专利权)人
エフ.ホフマン-ラ ロシュ アーゲー
发明人
ジークフリート ノエッツェル | ジーン-フィリッペ ボガルディ | ディエター マンゴルト
简单同族
AT355126T | CA2456695A1 | CA2456695C | DE10305050A1 | DE502004002997D1 | EP1445020A1 | EP1445020B1 | ES2281698T3 | JP2004239904A | JP2008216269A | JP4192103B2 | US20040191124A1 | US20090087901A1 | US7479393 | US7641862
简单同族成员数量
15
简单同族被引用专利总数
94
诉讼案件数
0
法律状态/事件
授权
抱歉,您的浏览器不支持PDF预览,请点击链接下载PDF文件