专利数据库
统计分析
产业报告
专利数据监控
产业人才
行业动态
产业政策法规
维权援助
个人中心
详情
文本
图像
标题
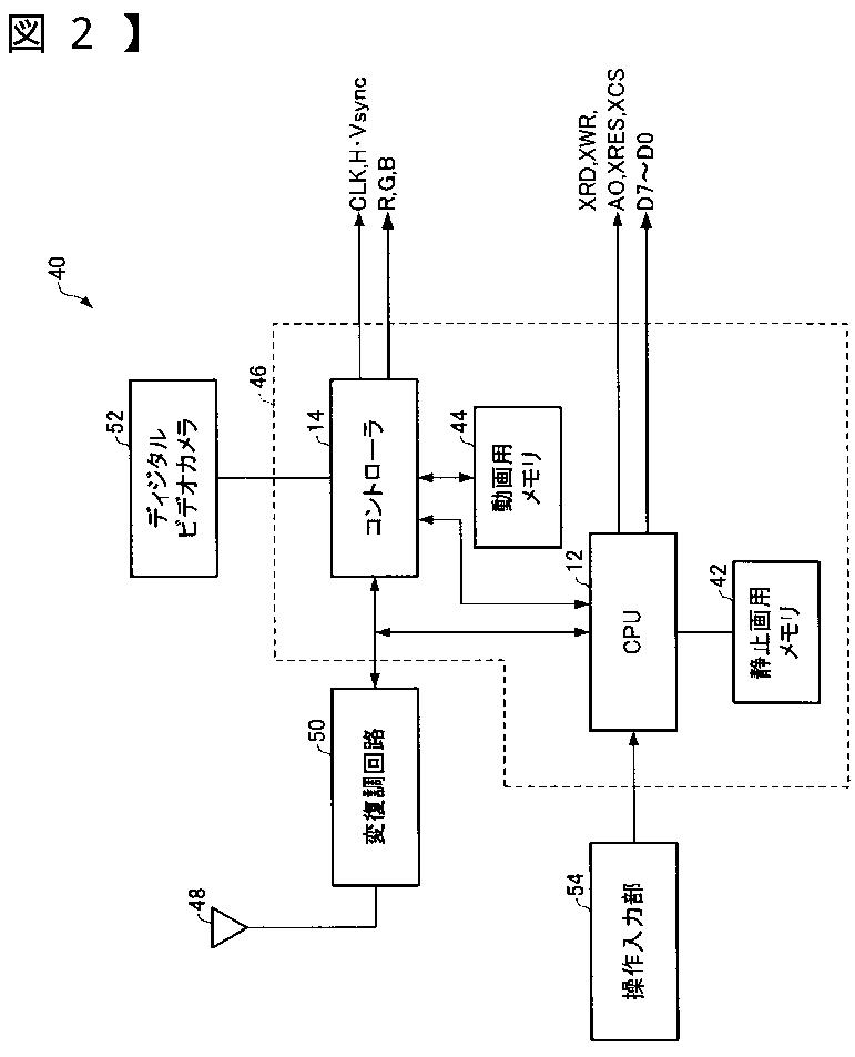
表示ドライバ、表示ユニット及び電子機器
授权日
2004-07-23
公开(公告)号
JP3578141B2
申请日
2002-01-09
公开(公告)日
2004-10-20
当前申请(专利权)人
セイコーエプソン株式会社
发明人
石山 久展
简单同族
JP2002323881A | JP3578141B2 | KR100443324B1 | KR1020020068951A | TW525135B | US20020113781A1 | US6930675
简单同族成员数量
7
简单同族被引用专利总数
54
诉讼案件数
0
法律状态/事件
未缴年费
抱歉,您的浏览器不支持PDF预览,请点击链接下载PDF文件