专利数据库
统计分析
产业报告
专利数据监控
产业人才
行业动态
产业政策法规
维权援助
个人中心
详情
文本
图像
标题
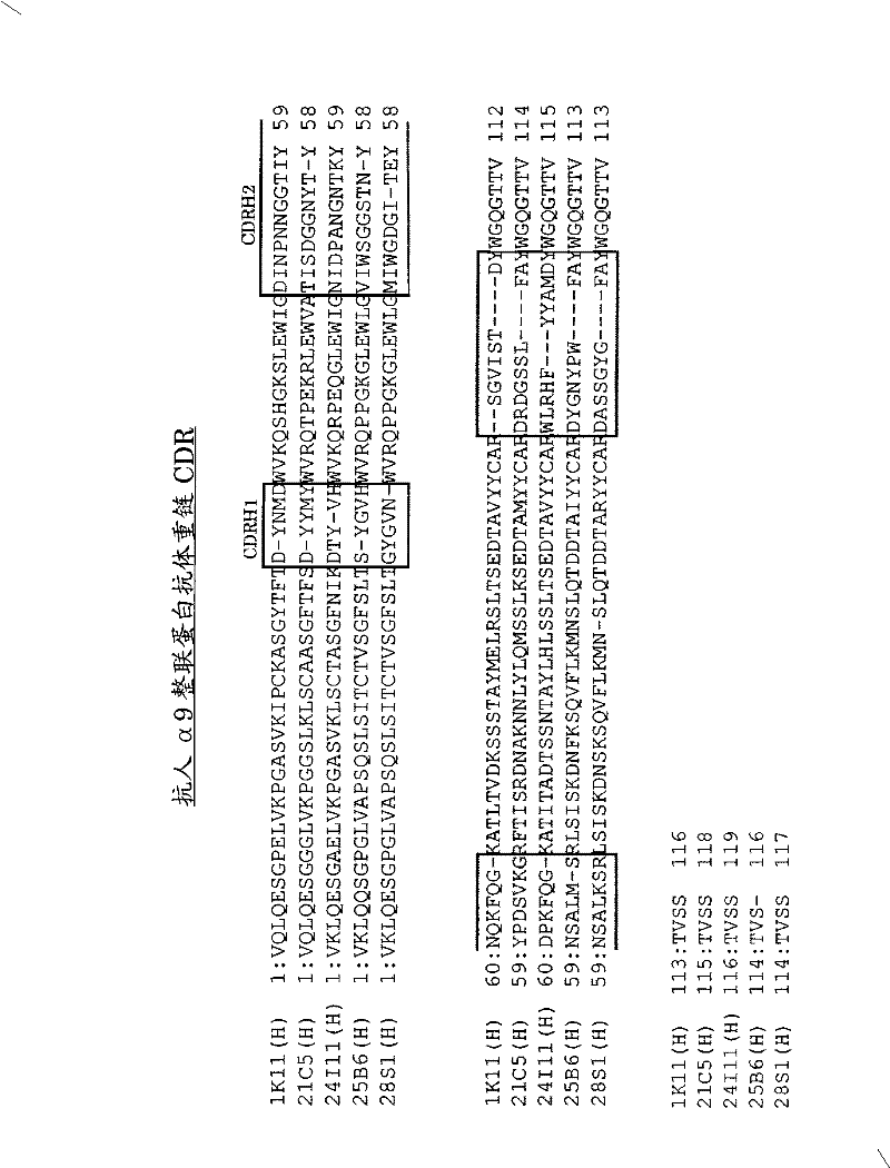
抗人α9整联蛋白抗体及其用途
授权日
2012-07-25
公开(公告)号
CN101506239B
申请日
2007-07-11
公开(公告)日
2012-07-25
当前申请(专利权)人
株式会社遗传科技
发明人
金山刚士 | 黑滝大翼 | 今重之 | 上出利光
简单同族
AU2007273467A1 | AU2007273467B2 | CA2657133A1 | CA2657133C | CN101506239A | CN101506239B | EP2048163A1 | EP2048163A4 | EP2316855A1 | EP2316855B1 | JP5066087B2 | JPWO2008007804A1 | KR101429783B1 | KR1020090039744A | US20090252734A1 | US8221754 | WO2008007804A1
简单同族成员数量
17
简单同族被引用专利总数
56
诉讼案件数
0
法律状态/事件
授权
抱歉,您的浏览器不支持PDF预览,请点击链接下载PDF文件