专利数据库
统计分析
产业报告
专利数据监控
产业人才
行业动态
产业政策法规
维权援助
个人中心
详情
文本
图像
标题
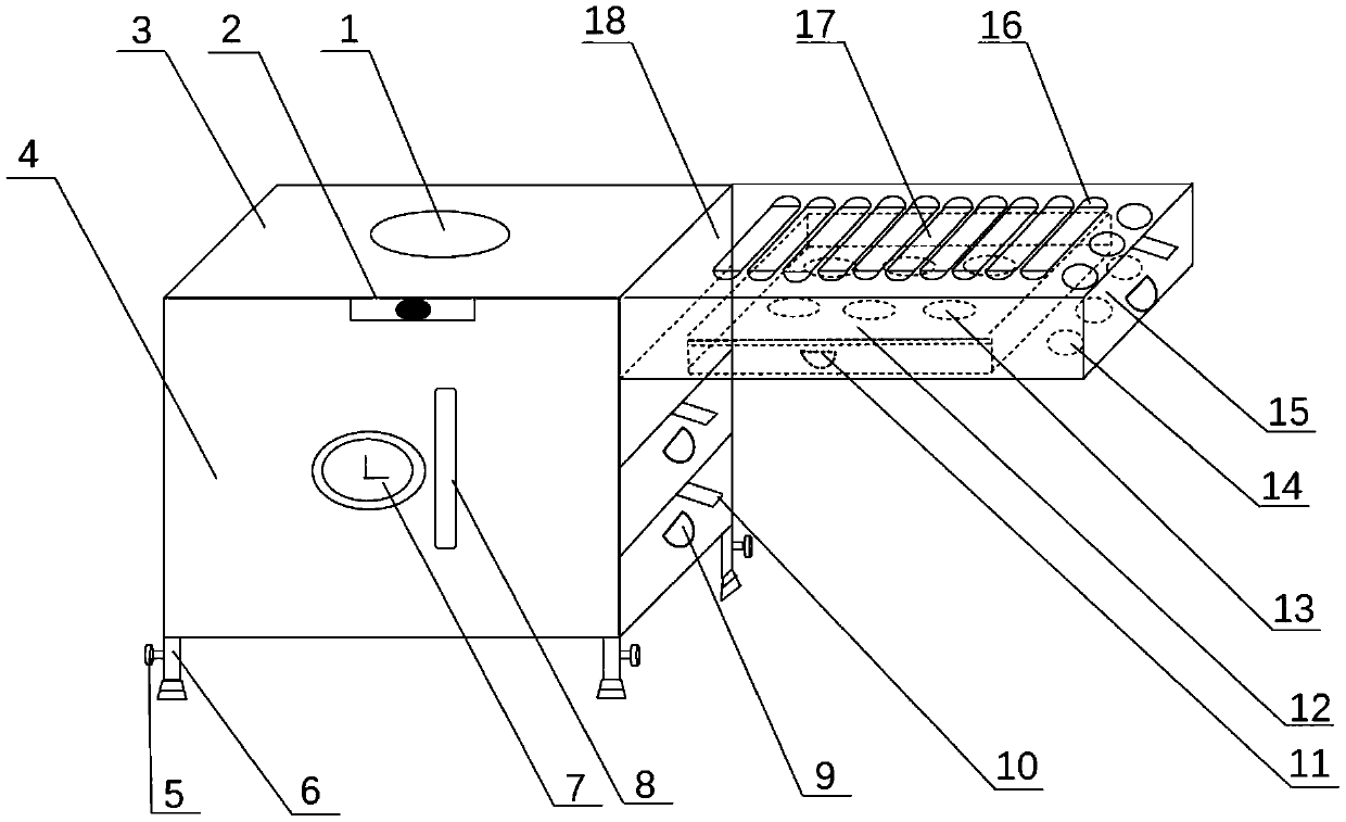
一种免疫组化用的抗体孵育盒
授权日
2019-05-24
公开(公告)号
CN208902731U
申请日
2018-08-23
公开(公告)日
2019-05-24
当前申请(专利权)人
温州医科大学附属第二医院、温州医科大学附属育英儿童医院
发明人
朱雪琼 | 胡晓丽 | 李赛赛 | 沈奇
简单同族
CN208902731U
简单同族成员数量
1
简单同族被引用专利总数
0
诉讼案件数
0
法律状态/事件
授权
抱歉,您的浏览器不支持PDF预览,请点击链接下载PDF文件