专利数据库
统计分析
产业报告
专利数据监控
产业人才
行业动态
产业政策法规
维权援助
个人中心
详情
文本
图像
标题
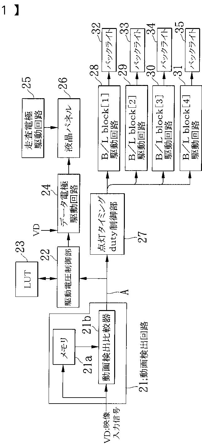
液晶表示装置及び該液晶表示装置に用いられる駆動方法
授权日
2009-04-24
公开(公告)号
JP4299622B2
申请日
2003-09-24
公开(公告)日
2009-07-22
当前申请(专利权)人
NEC液晶テクノロジー株式会社
发明人
本保 信明
简单同族
CN1637508A | CN1637508B | JP2005099367A | JP4299622B2 | KR100662161B1 | KR1020050030123A | TW200530993A | TWI285359B | US20050062681A1 | US7298358
简单同族成员数量
10
简单同族被引用专利总数
98
诉讼案件数
0
法律状态/事件
授权 | 权利转移
抱歉,您的浏览器不支持PDF预览,请点击链接下载PDF文件