专利数据库
统计分析
产业报告
专利数据监控
产业人才
行业动态
产业政策法规
维权援助
个人中心
详情
文本
图像
标题
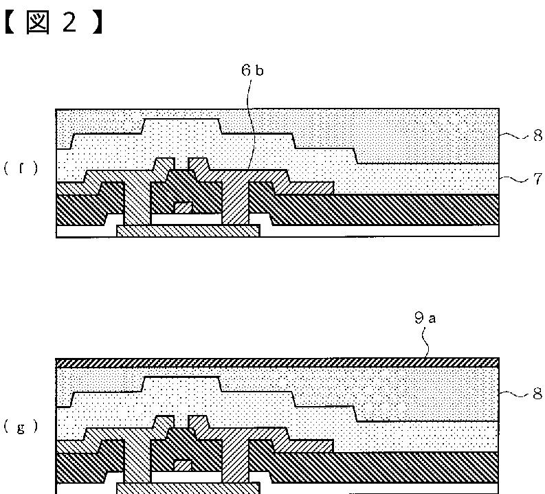
透過型液晶表示装置及びその製造方法
授权日
2011-02-10
公开(公告)号
JP4677654B2
申请日
2000-04-19
公开(公告)日
2011-04-27
当前申请(专利权)人
日本電気株式会社
发明人
塩田 国弘
简单同族
JP2001305576A | JP4677654B2 | KR100477288B1 | KR1020010098732A | TWI282460B | US20020008818A1 | US20040066485A1 | US20060181655A1 | US6657692 | US7057694 | US7973867
简单同族成员数量
11
简单同族被引用专利总数
68
诉讼案件数
0
法律状态/事件
期限届满 | 权利转移
抱歉,您的浏览器不支持PDF预览,请点击链接下载PDF文件