专利数据库
统计分析
产业报告
专利数据监控
产业人才
行业动态
产业政策法规
维权援助
个人中心
详情
文本
图像
标题
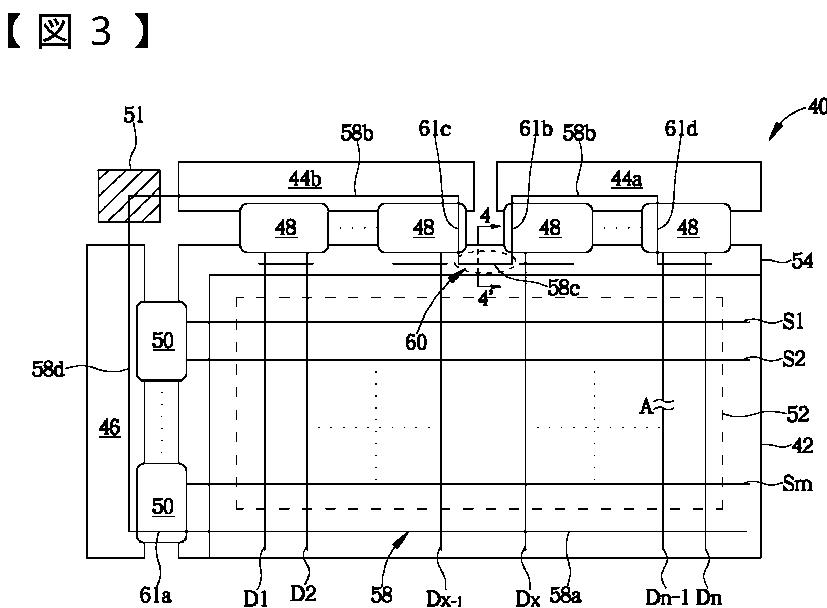
液晶表示パネル
授权日
2009-12-11
公开(公告)号
JP4419166B2
申请日
2003-04-01
公开(公告)日
2010-02-24
当前申请(专利权)人
奇美電子股▲ふん▼有限公司
发明人
▲薩▼文志 | 簡錦誠 | 陳信宏
简单同族
JP2004139012A | JP4419166B2 | TW565815B | US20040075800A1 | US6819370
简单同族成员数量
5
简单同族被引用专利总数
52
诉讼案件数
0
法律状态/事件
授权
抱歉,您的浏览器不支持PDF预览,请点击链接下载PDF文件