专利数据库
统计分析
产业报告
专利数据监控
产业人才
行业动态
产业政策法规
维权援助
个人中心
详情
文本
图像
标题
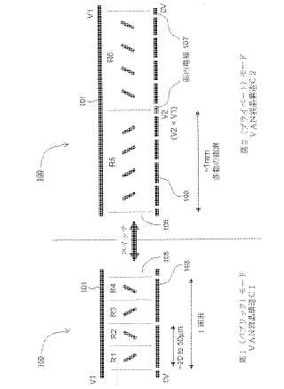
表示装置、液晶表示パネルおよび動作プログラム
授权日
1900-01-01
公开(公告)号
JP2007017988A
申请日
2006-07-10
公开(公告)日
2007-01-25
当前申请(专利权)人
シャープ株式会社
发明人
トーマス マシュー ウィンポール | ポール アントニー ガス | ダイアナ ウルリッチ キーン | ネイサン スミス | アラン エヴァンス | ベンジャミン ジョン ブロウトン
简单同族
JP2007017988A | JP2009064025A | JP2011253206A | JP2012190054A | JP4459931B2 | JP4842311B2 | JP5389877B2 | JP5450723B2 | KR100853594B1 | KR100893818B1 | KR1020070006625A | KR1020080023708A | US20070040780A1 | US20110012924A1 | US20120056914A1 | US20120147026A1 | US7965268 | US8144093 | US8400384 | US8698718
简单同族成员数量
20
简单同族被引用专利总数
189
诉讼案件数
0
法律状态/事件
未缴年费
抱歉,您的浏览器不支持PDF预览,请点击链接下载PDF文件