专利数据库
统计分析
产业报告
专利数据监控
产业人才
行业动态
产业政策法规
维权援助
个人中心
详情
文本
图像
标题
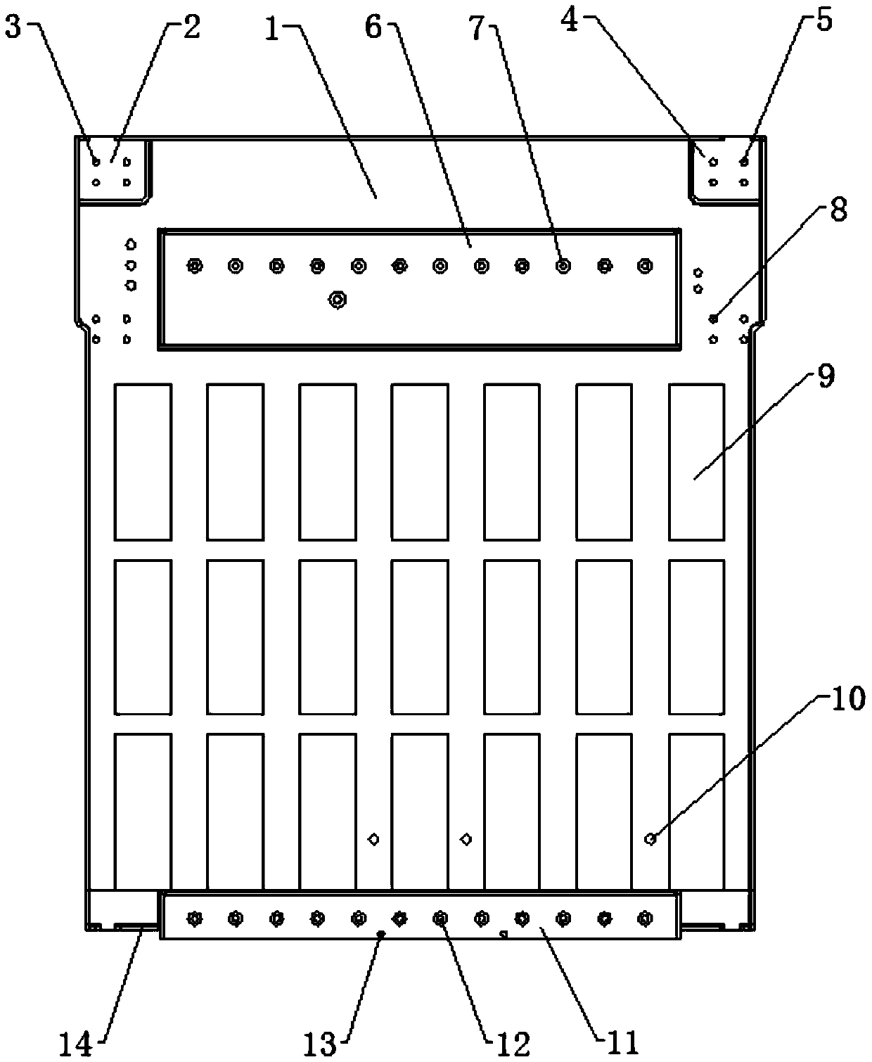
一种自动化免疫定量分析仪的托盘
授权日
2019-12-31
公开(公告)号
CN209878771U
申请日
2019-04-30
公开(公告)日
2019-12-31
当前申请(专利权)人
深圳市佐藤科技有限公司
发明人
朱旭平 | 张克猛
简单同族
CN209878771U
简单同族成员数量
1
简单同族被引用专利总数
0
诉讼案件数
0
法律状态/事件
授权 | 权利转移
抱歉,您的浏览器不支持PDF预览,请点击链接下载PDF文件