专利数据库
统计分析
产业报告
专利数据监控
产业人才
行业动态
产业政策法规
维权援助
个人中心
详情
文本
图像
标题
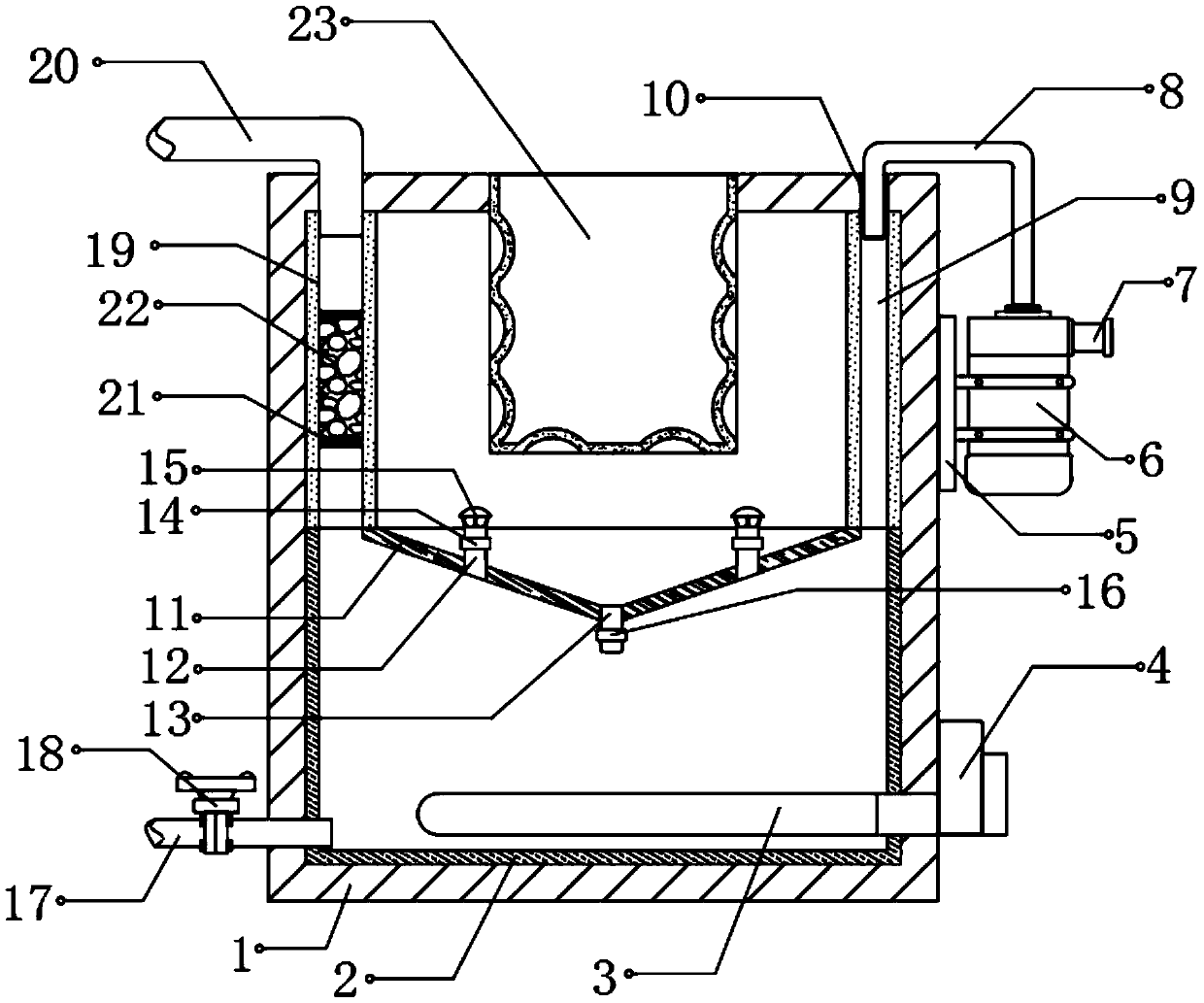
一种可远程控制化学发光免疫分析仪温度的设备
授权日
2020-04-10
公开(公告)号
CN210294282U
申请日
2019-04-15
公开(公告)日
2020-04-10
当前申请(专利权)人
上海基灵生物科技有限公司
发明人
黄挺 | 张恒 | 孙兆龙
简单同族
CN210294282U
简单同族成员数量
1
简单同族被引用专利总数
0
诉讼案件数
0
法律状态/事件
授权
抱歉,您的浏览器不支持PDF预览,请点击链接下载PDF文件