专利数据库
统计分析
产业报告
专利数据监控
产业人才
行业动态
产业政策法规
维权援助
个人中心
详情
文本
图像
标题
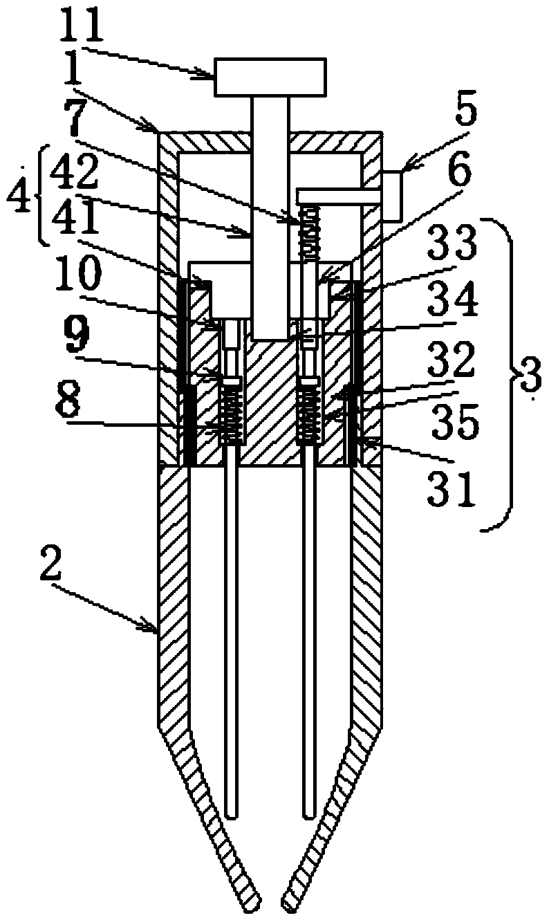
具有染色笔芯和免疫笔芯的复合笔
授权日
2020-03-06
公开(公告)号
CN210128977U
申请日
2019-05-22
公开(公告)日
2020-03-06
当前申请(专利权)人
苏州科技城医院
发明人
张锦 | 李梓煊 | 赵东晖 | 杜秀銮 | 李庆军 | 赵海峰 | 刘燕翔 | 戴欣 | 郭凯 | 董上琨 | 孙淑颖
简单同族
CN210128977U
简单同族成员数量
1
简单同族被引用专利总数
0
诉讼案件数
0
法律状态/事件
授权
抱歉,您的浏览器不支持PDF预览,请点击链接下载PDF文件