专利数据库
统计分析
产业报告
专利数据监控
产业人才
行业动态
产业政策法规
维权援助
个人中心
详情
文本
图像
标题
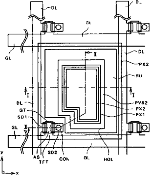
液晶显示器件
授权日
1900-01-01
公开(公告)号
CN1354381A
申请日
2001-11-22
公开(公告)日
2002-06-19
当前申请(专利权)人
株式会社日本显示器
发明人
小野记久雄 | 平方纯一 | 落合孝洋 | 桶隆太郎
简单同族
CN1157630C | CN1354381A | JP2002162623A | JP4101454B2 | KR100439925B1 | KR1020020040601A | TW586043B | US20020047970A1 | US6798480
简单同族成员数量
9
简单同族被引用专利总数
60
诉讼案件数
0
法律状态/事件
授权 | 许可 | 权利转移
抱歉,您的浏览器不支持PDF预览,请点击链接下载PDF文件