专利数据库
统计分析
产业报告
专利数据监控
产业人才
行业动态
产业政策法规
维权援助
个人中心
详情
文本
图像
标题
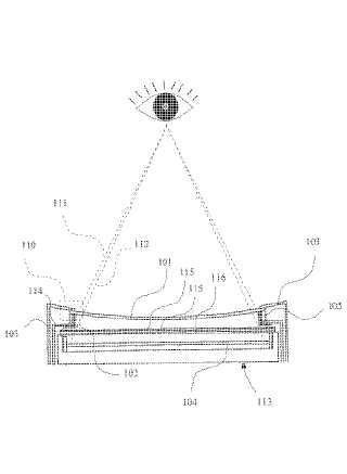
湾曲液晶表示装置及び湾曲液晶表示装置用反射板または反射シートの形成設置方法
授权日
1900-01-01
公开(公告)号
JP2007171658A
申请日
2005-12-22
公开(公告)日
2007-07-05
当前申请(专利权)人
インフォビジョン オプトエレクトロニクス ホールデングズ リミティッド
发明人
野内 祐智 | 松田 章稔 | 榛葉 洋光
简单同族
CN100445833C | CN1987591A | JP2007171658A | JP4481245B2 | US20070146616A1 | US7609355
简单同族成员数量
6
简单同族被引用专利总数
58
诉讼案件数
0
法律状态/事件
授权 | 权利转移
抱歉,您的浏览器不支持PDF预览,请点击链接下载PDF文件