专利数据库
统计分析
产业报告
专利数据监控
产业人才
行业动态
产业政策法规
维权援助
个人中心
详情
文本
图像
标题
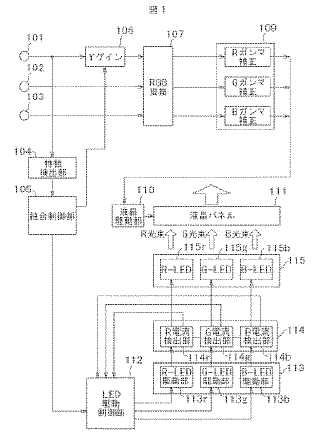
液晶表示装置
授权日
1900-01-01
公开(公告)号
JP2005017324A
申请日
2003-06-23
公开(公告)日
2005-01-20
当前申请(专利权)人
株式会社日立製作所
发明人
都留 康隆 | 渡辺 敏光 | 中嶋 満雄 | 甲 展明 | 的野 孝明
简单同族
JP2005017324A | JP4294392B2
简单同族成员数量
2
简单同族被引用专利总数
53
诉讼案件数
0
法律状态/事件
授权 | 权利转移
抱歉,您的浏览器不支持PDF预览,请点击链接下载PDF文件