专利数据库
统计分析
产业报告
专利数据监控
产业人才
行业动态
产业政策法规
维权援助
个人中心
详情
文本
图像
标题
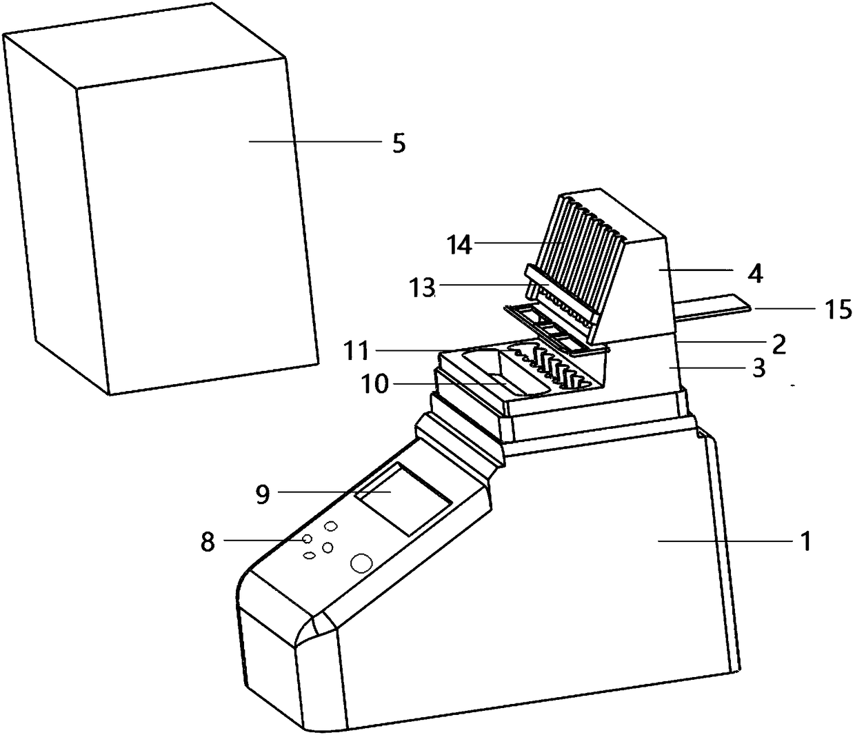
一种免疫层析试纸条恒温孵育器及孵育方法
授权日
1900-01-01
公开(公告)号
CN108414739A
申请日
2018-04-18
公开(公告)日
2018-08-17
当前申请(专利权)人
武汉华美生物工程有限公司
发明人
华权高 | 余箭翔 | 李诗焱 | 赵焕祥 | 徐学凯
简单同族
CN108414739A
简单同族成员数量
1
简单同族被引用专利总数
0
诉讼案件数
0
法律状态/事件
实质审查
抱歉,您的浏览器不支持PDF预览,请点击链接下载PDF文件