专利数据库
统计分析
产业报告
专利数据监控
产业人才
行业动态
产业政策法规
维权援助
个人中心
详情
文本
图像
标题
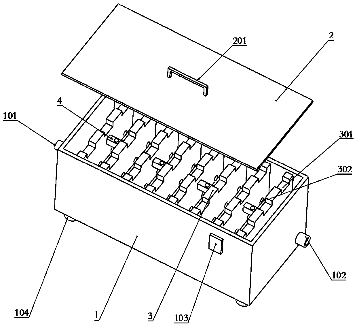
一种免疫组化孵育装置
授权日
2019-11-08
公开(公告)号
CN209606444U
申请日
2019-03-11
公开(公告)日
2019-11-08
当前申请(专利权)人
山东省农业科学院畜牧兽医研究所
发明人
张玉玉 | 吴家强 | 王可 | 于江 | 陈智 | 孙文博 | 张琳 | 郭立辉 | 任素芳
简单同族
CN209606444U
简单同族成员数量
1
简单同族被引用专利总数
0
诉讼案件数
0
法律状态/事件
授权
抱歉,您的浏览器不支持PDF预览,请点击链接下载PDF文件