专利数据库
统计分析
产业报告
专利数据监控
产业人才
行业动态
产业政策法规
维权援助
个人中心
详情
文本
图像
标题
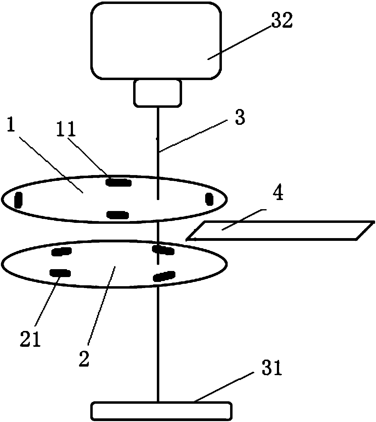
基于微流控芯片的便携式免疫磁珠三维混合装置及使用方法
授权日
2018-07-06
公开(公告)号
CN106179544B
申请日
2016-07-14
公开(公告)日
2018-07-06
当前申请(专利权)人
大连海事大学
发明人
孙野青 | 侯良生 | 钟润涛
简单同族
CN106179544A | CN106179544B
简单同族成员数量
2
简单同族被引用专利总数
0
诉讼案件数
0
法律状态/事件
授权
抱歉,您的浏览器不支持PDF预览,请点击链接下载PDF文件