专利数据库
统计分析
产业报告
专利数据监控
产业人才
行业动态
产业政策法规
维权援助
个人中心
详情
文本
图像
标题
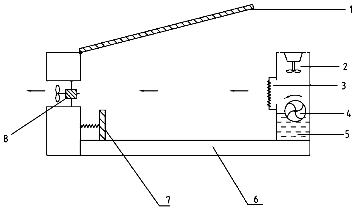
一种酶联免疫点样和孵育装置
授权日
2020-02-07
公开(公告)号
CN210037825U
申请日
2019-05-24
公开(公告)日
2020-02-07
当前申请(专利权)人
甘肃出入境检验检疫局检验检疫综合技术中心
发明人
尤佳 | 王溪桥 | 文朝慧 | 王军平 | 满岳 | 李亚平 | 韦宝贵
简单同族
CN210037825U
简单同族成员数量
1
简单同族被引用专利总数
0
诉讼案件数
0
法律状态/事件
授权
抱歉,您的浏览器不支持PDF预览,请点击链接下载PDF文件