专利数据库
统计分析
产业报告
专利数据监控
产业人才
行业动态
产业政策法规
维权援助
个人中心
详情
文本
图像
标题
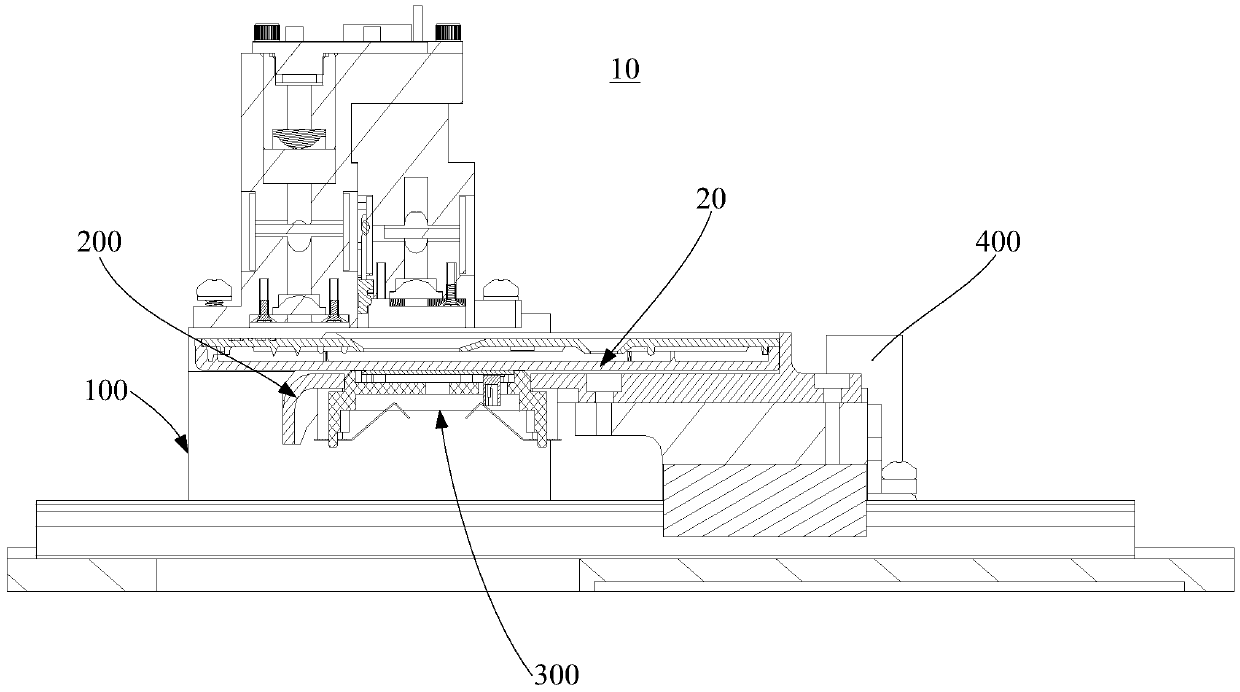
免疫荧光检测仪及其传感器孵育温控机构
授权日
2019-07-23
公开(公告)号
CN209148697U
申请日
2018-10-26
公开(公告)日
2019-07-23
当前申请(专利权)人
广州万孚生物技术股份有限公司
发明人
邓文强 | 袁章 | 刘成 | 李文美
简单同族
CN209148697U
简单同族成员数量
1
简单同族被引用专利总数
0
诉讼案件数
0
法律状态/事件
授权
抱歉,您的浏览器不支持PDF预览,请点击链接下载PDF文件