专利数据库
统计分析
产业报告
专利数据监控
产业人才
行业动态
产业政策法规
维权援助
个人中心
详情
文本
图像
标题
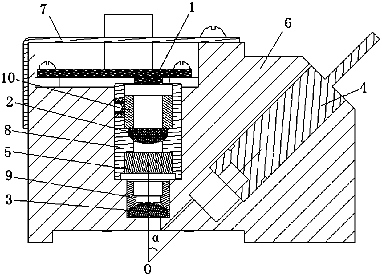
一种用于免疫荧光检测的光路机构
授权日
2020-04-28
公开(公告)号
CN210427583U
申请日
2019-08-21
公开(公告)日
2020-04-28
当前申请(专利权)人
上海贝西生物科技有限公司
发明人
周维海 | 余正东 | 黄波 | 吴梅
简单同族
CN210427583U
简单同族成员数量
1
简单同族被引用专利总数
0
诉讼案件数
0
法律状态/事件
授权
抱歉,您的浏览器不支持PDF预览,请点击链接下载PDF文件