专利数据库
统计分析
产业报告
专利数据监控
产业人才
行业动态
产业政策法规
维权援助
个人中心
详情
文本
图像
标题
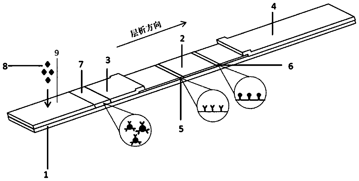
一种快速检测神经胶质纤维酸性蛋白的免疫层析检测卡及其制备方法
授权日
1900-01-01
公开(公告)号
CN110488007A
申请日
2019-09-26
公开(公告)日
2019-11-22
当前申请(专利权)人
天津华科泰生物技术有限公司
发明人
林斯 | 石岗 | 卢年强
简单同族
CN110488007A
简单同族成员数量
1
简单同族被引用专利总数
0
诉讼案件数
0
法律状态/事件
实质审查
抱歉,您的浏览器不支持PDF预览,请点击链接下载PDF文件