专利数据库
统计分析
产业报告
专利数据监控
产业人才
行业动态
产业政策法规
维权援助
个人中心
详情
文本
图像
标题
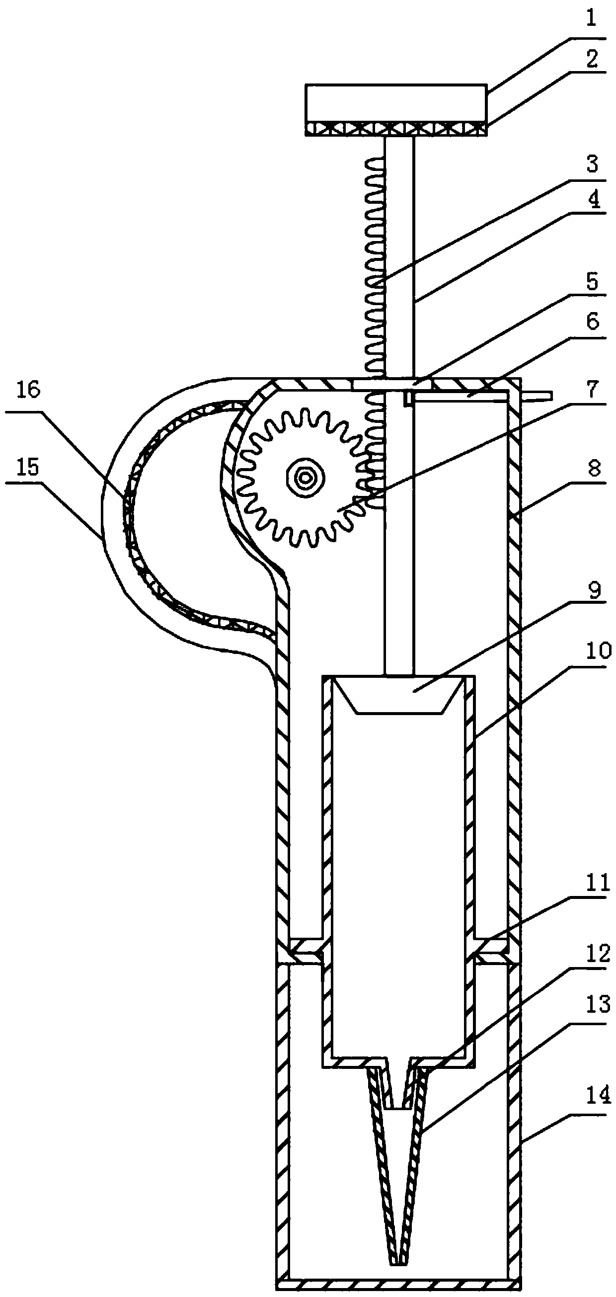
一种新型免疫组化上样装置
授权日
2020-04-14
公开(公告)号
CN210323038U
申请日
2019-07-09
公开(公告)日
2020-04-14
当前申请(专利权)人
天津市康婷生物工程集团有限公司
发明人
卢君君 | 马洁 | 赵刚
简单同族
CN210323038U
简单同族成员数量
1
简单同族被引用专利总数
0
诉讼案件数
0
法律状态/事件
授权
抱歉,您的浏览器不支持PDF预览,请点击链接下载PDF文件