专利数据库
统计分析
产业报告
专利数据监控
产业人才
行业动态
产业政策法规
维权援助
个人中心
详情
文本
图像
标题
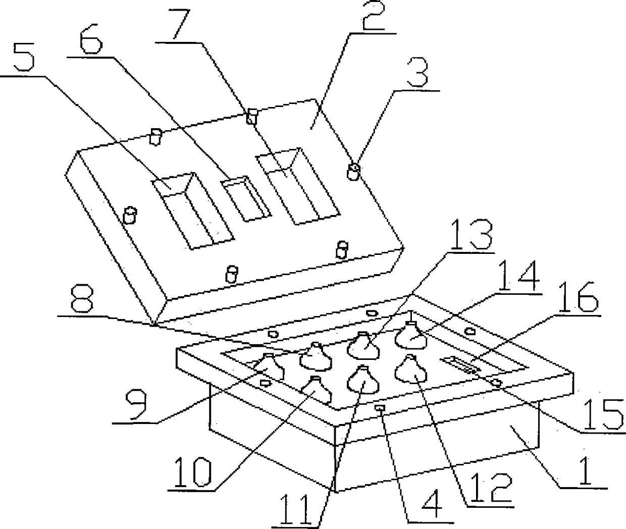
一种快速检测人类免疫缺陷病毒抗原抗体的试剂盒
授权日
2013-11-27
公开(公告)号
CN203310834U
申请日
2013-06-20
公开(公告)日
2013-11-27
当前申请(专利权)人
苏州长光华医生物医学工程有限公司
发明人
徐海伟 | 李勇 | 胡庆锋 | 常立峻 | 陈秀发
简单同族
CN203310834U
简单同族成员数量
1
简单同族被引用专利总数
0
诉讼案件数
0
法律状态/事件
授权 | 权利转移
抱歉,您的浏览器不支持PDF预览,请点击链接下载PDF文件