专利数据库
统计分析
产业报告
专利数据监控
产业人才
行业动态
产业政策法规
维权援助
个人中心
详情
文本
图像
标题
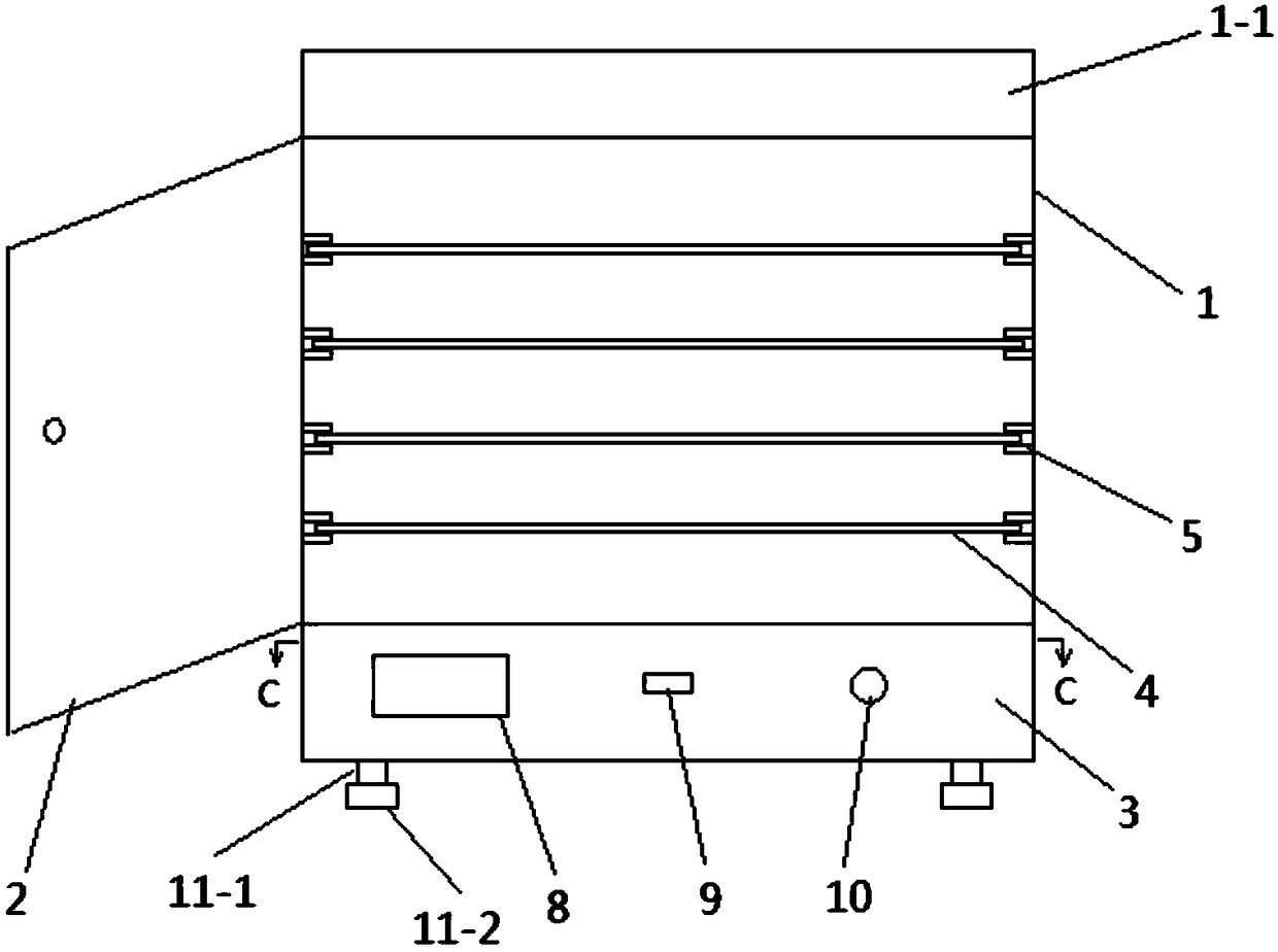
一种用于免疫学实验的孵育保湿盒
授权日
2018-09-18
公开(公告)号
CN207882277U
申请日
2018-03-19
公开(公告)日
2018-09-18
当前申请(专利权)人
天晴干细胞股份有限公司
发明人
刘春香 | 张怡 | 李妍 | 刘艳青
简单同族
CN207882277U
简单同族成员数量
1
简单同族被引用专利总数
0
诉讼案件数
0
法律状态/事件
授权
抱歉,您的浏览器不支持PDF预览,请点击链接下载PDF文件