专利数据库
统计分析
产业报告
专利数据监控
产业人才
行业动态
产业政策法规
维权援助
个人中心
详情
文本
图像
标题
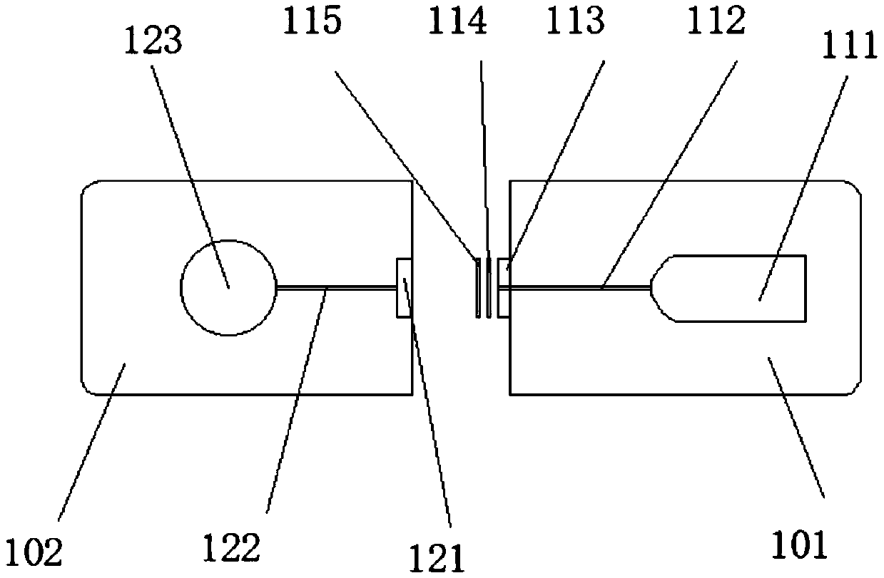
微柱型免疫检测试剂卡
授权日
2019-12-24
公开(公告)号
CN209841883U
申请日
2018-12-28
公开(公告)日
2019-12-24
当前申请(专利权)人
烟台芥子生物技术有限公司
发明人
张屹 | 刘枫
简单同族
CN209841883U
简单同族成员数量
1
简单同族被引用专利总数
0
诉讼案件数
0
法律状态/事件
授权
抱歉,您的浏览器不支持PDF预览,请点击链接下载PDF文件