专利数据库
统计分析
产业报告
专利数据监控
产业人才
行业动态
产业政策法规
维权援助
个人中心
详情
文本
图像
标题
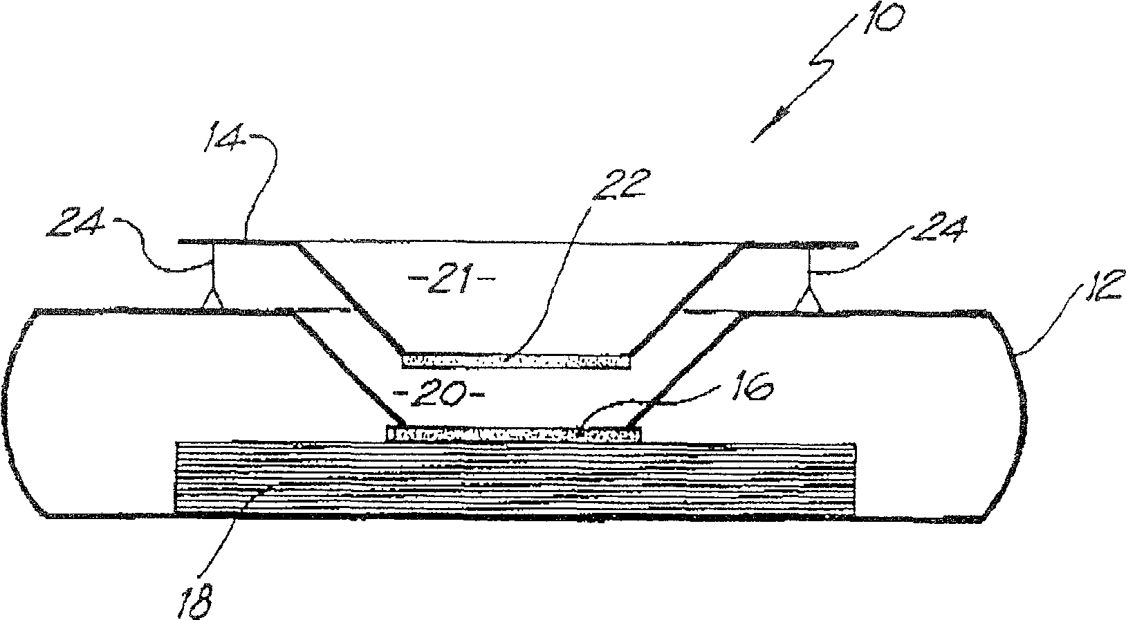
诊断试验方法
授权日
2009-07-08
公开(公告)号
CN100510747C
申请日
2002-12-12
公开(公告)日
2009-07-08
当前申请(专利权)人
普罗托姆系统有限公司
发明人
安德鲁·约翰·斯隆 | 安德鲁·亚瑟·古利 | 罗伯特·艾利·科尔 | 大卫·埃·莫贝尔
简单同族
AT358274T | CA2469935A1 | CA2469935C | CN100510747C | CN1646909A | DE60219207D1 | DE60219207T2 | EP1461615A1 | EP1461615A4 | EP1461615B1 | JP2005512090A | JP4551660B2 | US20050164404A1 | US20100323369A1 | US7875435 | US8067246 | WO2003050537A1
简单同族成员数量
17
简单同族被引用专利总数
88
诉讼案件数
0
法律状态/事件
未缴年费 | 权利转移
抱歉,您的浏览器不支持PDF预览,请点击链接下载PDF文件