专利数据库
统计分析
产业报告
专利数据监控
产业人才
行业动态
产业政策法规
维权援助
个人中心
详情
文本
图像
标题
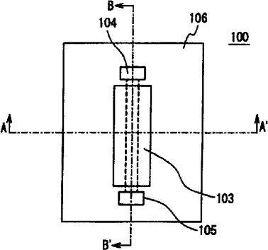
分析芯片及分析装置
授权日
1900-01-01
公开(公告)号
CN1675535A
申请日
2003-08-04
公开(公告)日
2005-09-28
当前申请(专利权)人
日本电气株式会社
发明人
饭田一浩
简单同族
CN1675535A | JP2004069397A | JPWO2004036194A1 | US20050239210A1 | WO2004036194A1
简单同族成员数量
5
简单同族被引用专利总数
62
诉讼案件数
0
法律状态/事件
撤回
抱歉,您的浏览器不支持PDF预览,请点击链接下载PDF文件