专利数据库
统计分析
产业报告
专利数据监控
产业人才
行业动态
产业政策法规
维权援助
个人中心
详情
文本
图像
标题
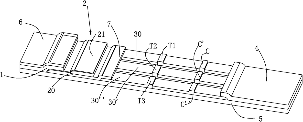
用于术后病人监测的多指标时间分辨荧光免疫层析试剂盒
授权日
2017-11-14
公开(公告)号
CN206638678U
申请日
2017-04-26
公开(公告)日
2017-11-14
当前申请(专利权)人
江苏扬新生物医药有限公司
发明人
胡文波 | 晏小云
简单同族
CN206638678U
简单同族成员数量
1
简单同族被引用专利总数
0
诉讼案件数
0
法律状态/事件
授权
抱歉,您的浏览器不支持PDF预览,请点击链接下载PDF文件