专利数据库
统计分析
产业报告
专利数据监控
产业人才
行业动态
产业政策法规
维权援助
个人中心
详情
文本
图像
标题
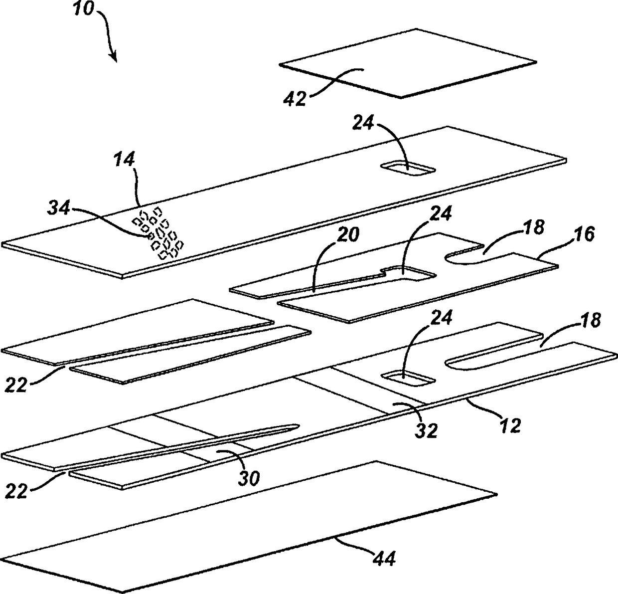
用于免疫传感器的粘合剂组合物
授权日
2014-10-01
公开(公告)号
CN102033123B
申请日
2010-09-30
公开(公告)日
2014-10-01
当前申请(专利权)人
西拉格国际有限责任公司
发明人
R·C·沙特利耶 | D·赖拉特
简单同族
AU2010210002A1 | AU2010210002B2 | CA2715896A1 | CA2715896C | CA2964540A1 | CA2964540C | CN102033123A | CN102033123B | EP2306196A1 | EP2306196B1 | EP2472261A1 | EP2472261B1 | ES2391938T3 | ES2502472T3 | HK1155811A | HK1155811A1 | HK1171809A | HK1171809A1 | IL207541A | IL207541D0 | JP2011080987A | JP2011080987A5 | JP5048114B2 | KR101233740B1 | KR1020110035913A | SG169968A1 | TW201116304A | TWI516288B | US20110073493A1 | US20120279873A1 | US20120283358A1 | US8221994 | US8758592
简单同族成员数量
33
简单同族被引用专利总数
60
诉讼案件数
0
法律状态/事件
授权
抱歉,您的浏览器不支持PDF预览,请点击链接下载PDF文件