专利数据库
统计分析
产业报告
专利数据监控
产业人才
行业动态
产业政策法规
维权援助
个人中心
详情
文本
图像
标题
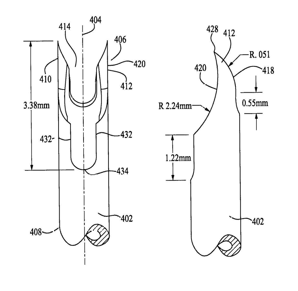
Follicle punch for use with curled follicles
授权日
2018-12-25
公开(公告)号
US10159508
申请日
2014-05-13
公开(公告)日
2018-12-25
当前申请(专利权)人
UMAR, SANUSI
发明人
UMAR, SANUSI
简单同族
US10159508 | US20160249948A1
简单同族成员数量
2
简单同族被引用专利总数
2
诉讼案件数
0
法律状态/事件
授权
抱歉,您的浏览器不支持PDF预览,请点击链接下载PDF文件