专利数据库
统计分析
产业报告
专利数据监控
产业人才
行业动态
产业政策法规
维权援助
个人中心
详情
文本
图像
标题
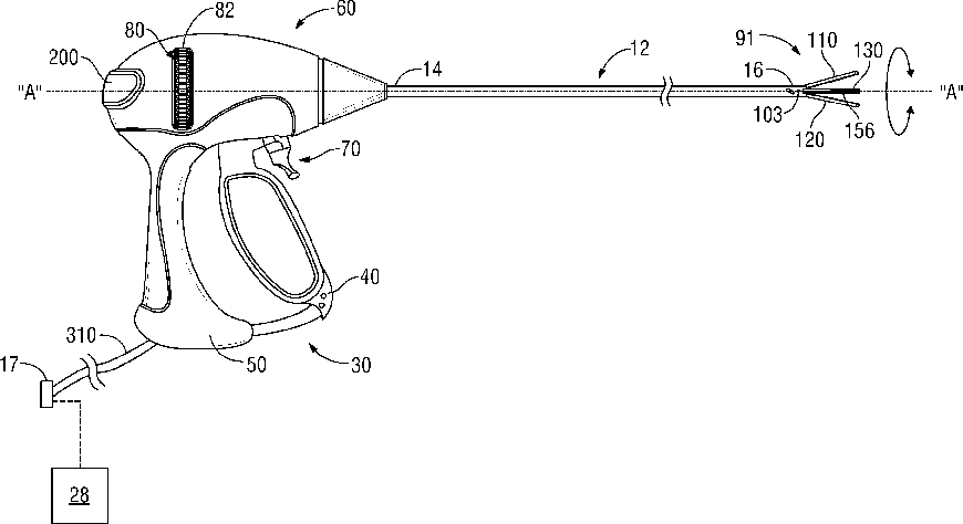
Surgical instrument with end-effector assembly including three jaw members
授权日
1900-01-01
公开(公告)号
US20150150581A1
申请日
2014-11-20
公开(公告)日
2015-06-04
当前申请(专利权)人
COVIDIEN LP
发明人
VAN TOL, DAVID J. | ROSS, ANTHONY B. | WASKIEWICZ, ALEXANDER M. | LARSON, ERIC R.
简单同族
US20150150581A1 | US9987071
简单同族成员数量
2
简单同族被引用专利总数
2
诉讼案件数
0
法律状态/事件
授权 | 权利转移
抱歉,您的浏览器不支持PDF预览,请点击链接下载PDF文件