专利数据库
统计分析
产业报告
专利数据监控
产业人才
行业动态
产业政策法规
维权援助
个人中心
详情
文本
图像
标题
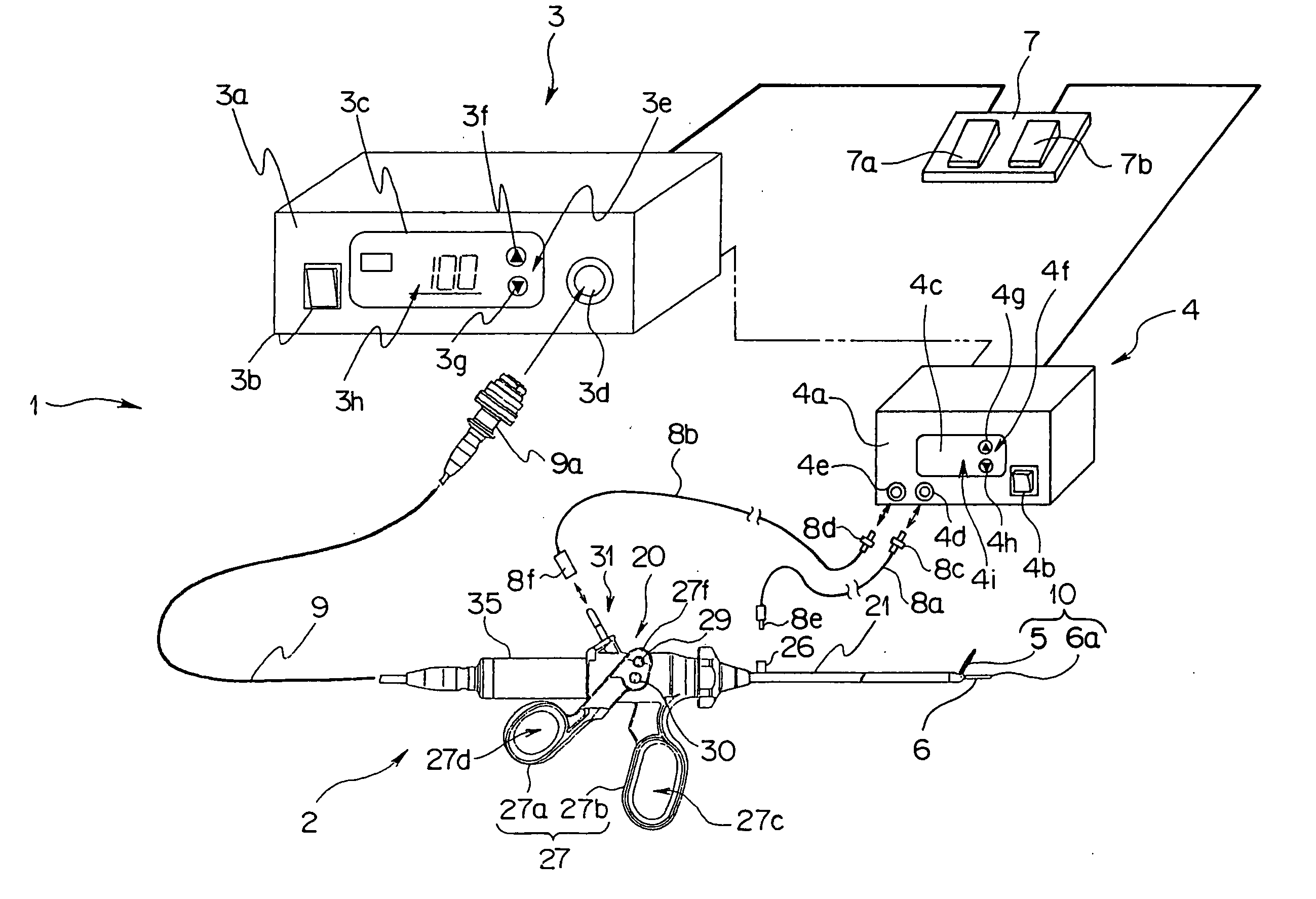
Ultrasonic coagulation and cutting apparatus
授权日
1900-01-01
公开(公告)号
US20070043297A1
申请日
2006-08-11
公开(公告)日
2007-02-22
当前申请(专利权)人
OLYMPUS CORPORATION
发明人
MIYAZAWA, TARO
简单同族
JP2007050181A | JP4402629B2 | US20070043297A1 | US7717915
简单同族成员数量
4
简单同族被引用专利总数
460
诉讼案件数
0
法律状态/事件
授权 | 权利转移
抱歉,您的浏览器不支持PDF预览,请点击链接下载PDF文件