专利数据库
统计分析
产业报告
专利数据监控
产业人才
行业动态
产业政策法规
维权援助
个人中心
详情
文本
图像
标题
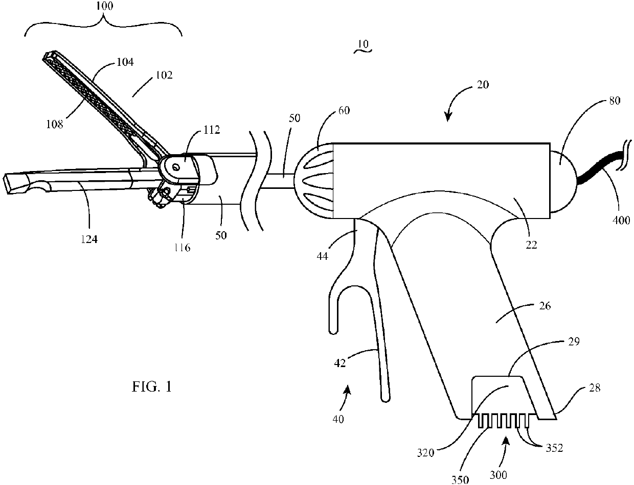
Removable fluid reservoir and ultrasonic surgical instrument including the same
授权日
1900-01-01
公开(公告)号
EP3524187A1
申请日
2019-02-12
公开(公告)日
2019-08-14
当前申请(专利权)人
COVIDIEN LP
发明人
COWLEY, MATTHEW, S.
简单同族
EP3524187A1 | JP2019136510A | US20190247073A1
简单同族成员数量
3
简单同族被引用专利总数
0
诉讼案件数
0
法律状态/事件
公开
抱歉,您的浏览器不支持PDF预览,请点击链接下载PDF文件