专利数据库
统计分析
产业报告
专利数据监控
产业人才
行业动态
产业政策法规
维权援助
个人中心
详情
文本
图像
标题
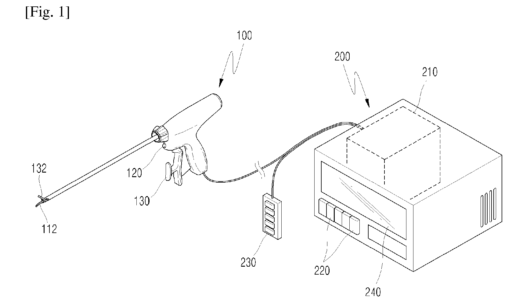
Power supply device for surgical instrument, using ultrasonic waves
授权日
1900-01-01
公开(公告)号
EP3011922A1
申请日
2013-06-18
公开(公告)日
2016-04-27
当前申请(专利权)人
Kim Eungkook
发明人
KIM, EUNGKOOK
简单同族
EP3011922A1 | EP3011922A4 | US20160213394A1 | WO2014204026A1
简单同族成员数量
4
简单同族被引用专利总数
0
诉讼案件数
0
法律状态/事件
撤回
抱歉,您的浏览器不支持PDF预览,请点击链接下载PDF文件