专利数据库
统计分析
产业报告
专利数据监控
产业人才
行业动态
产业政策法规
维权援助
个人中心
详情
文本
图像
标题
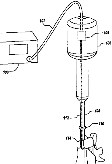
超音波切断装置
授权日
1900-01-01
公开(公告)号
JP2008528242A
申请日
2006-02-02
公开(公告)日
2008-07-31
当前申请(专利权)人
デピュイ·スパイン·インコーポレイテッド
发明人
ジョーンズ·ブライアン·エス | ラムゼイ·クリストファー
简单同族
AU2006210796A1 | AU2006210796B2 | CA2596651A1 | EP1845862A1 | EP1845862A4 | EP1845862B1 | JP2008528242A | US20060195106A1 | US20060195107A1 | US8628534 | WO2006083988A1
简单同族成员数量
11
简单同族被引用专利总数
277
诉讼案件数
0
法律状态/事件
实质审查
抱歉,您的浏览器不支持PDF预览,请点击链接下载PDF文件