专利数据库
统计分析
产业报告
专利数据监控
产业人才
行业动态
产业政策法规
维权援助
个人中心
详情
文本
图像
标题
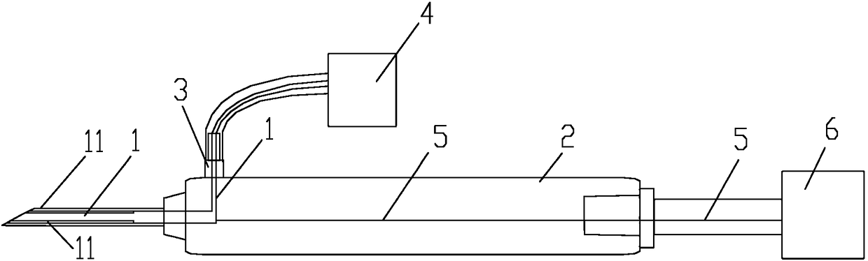
一种消融吸附电极
授权日
1900-01-01
公开(公告)号
CN102772251A
申请日
2012-06-28
公开(公告)日
2012-11-14
当前申请(专利权)人
王兴林 | 王林清
发明人
王兴林 | 王林清
简单同族
CN102772251A | CN102772251B
简单同族成员数量
2
简单同族被引用专利总数
2
诉讼案件数
0
法律状态/事件
授权
抱歉,您的浏览器不支持PDF预览,请点击链接下载PDF文件