专利数据库
统计分析
产业报告
专利数据监控
产业人才
行业动态
产业政策法规
维权援助
个人中心
详情
文本
图像
标题
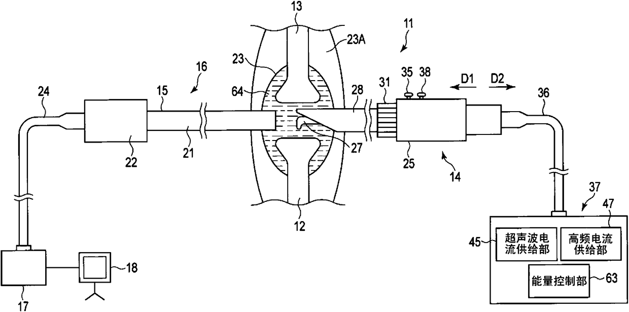
处置器具和处置系统
授权日
1900-01-01
公开(公告)号
CN107106222A
申请日
2015-07-24
公开(公告)日
2017-08-29
当前申请(专利权)人
奥林巴斯株式会社
发明人
横山谦
简单同族
CN107106222A | CN107106223A | CN107106223B | CN107106224A | CN107106224B | EP3243457A1 | EP3243457A4 | EP3243458A1 | EP3243458A4 | EP3243459A1 | EP3243459A4 | JP6113382B2 | JP6165364B2 | JP6197130B2 | JPWO2016111029A1 | JPWO2016111030A1 | JPWO2016111031A1 | US10617466 | US20170303955A1 | US20170303992A1 | US20170303993A1 | WO2016111029A1 | WO2016111030A1 | WO2016111031A1
简单同族成员数量
24
简单同族被引用专利总数
0
诉讼案件数
0
法律状态/事件
撤回
抱歉,您的浏览器不支持PDF预览,请点击链接下载PDF文件