专利数据库
统计分析
产业报告
专利数据监控
产业人才
行业动态
产业政策法规
维权援助
个人中心
详情
文本
图像
标题
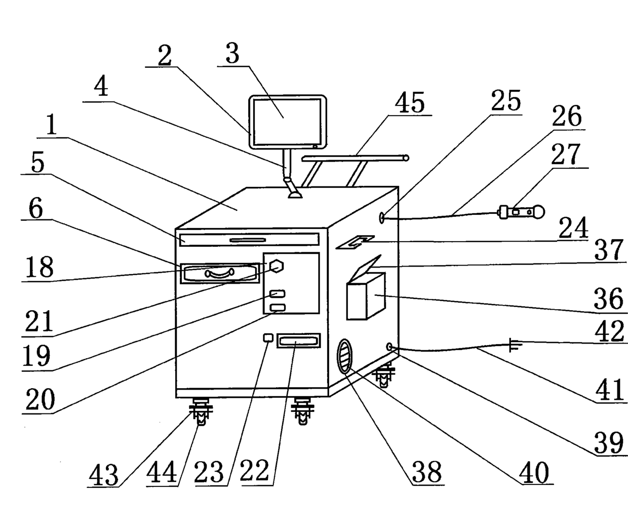
新型B超检测仪
授权日
2015-08-19
公开(公告)号
CN204562215U
申请日
2015-04-16
公开(公告)日
2015-08-19
当前申请(专利权)人
王爱娟
发明人
王爱娟
简单同族
CN204562215U
简单同族成员数量
1
简单同族被引用专利总数
1
诉讼案件数
0
法律状态/事件
未缴年费
抱歉,您的浏览器不支持PDF预览,请点击链接下载PDF文件