专利数据库
统计分析
产业报告
专利数据监控
产业人才
行业动态
产业政策法规
维权援助
个人中心
详情
文本
图像
标题
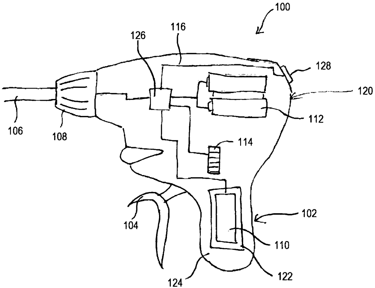
具有充电装置的外科器械
授权日
1900-01-01
公开(公告)号
CN103298417A
申请日
2011-11-03
公开(公告)日
2013-09-11
当前申请(专利权)人
伊西康内外科公司
发明人
K·L·豪泽 | D·C·耶茨 | J·W·威利斯 | A·O·津格曼 | D·L·科尔维克 | A·K·马登
简单同族
AU2011323290A1 | CA2816878A1 | CN103298417A | CN103298417B | EP2635202A1 | EP2635202B1 | JP2013545537A | US20120116265A1 | US20170245913A1 | WO2012061649A1
简单同族成员数量
10
简单同族被引用专利总数
857
诉讼案件数
0
法律状态/事件
授权
抱歉,您的浏览器不支持PDF预览,请点击链接下载PDF文件