专利数据库
统计分析
产业报告
专利数据监控
产业人才
行业动态
产业政策法规
维权援助
个人中心
详情
文本
图像
标题
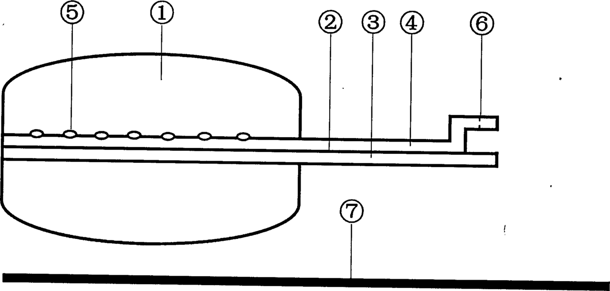
乳房肿块微创旋切术后内压迫止血法及止血球囊
授权日
1900-01-01
公开(公告)号
CN104688290A
申请日
2013-12-07
公开(公告)日
2015-06-10
当前申请(专利权)人
复旦大学附属妇产科医院
发明人
宋晖
简单同族
CN104688290A | CN104688290B
简单同族成员数量
2
简单同族被引用专利总数
0
诉讼案件数
0
法律状态/事件
授权
抱歉,您的浏览器不支持PDF预览,请点击链接下载PDF文件