专利数据库
统计分析
产业报告
专利数据监控
产业人才
行业动态
产业政策法规
维权援助
个人中心
详情
文本
图像
标题
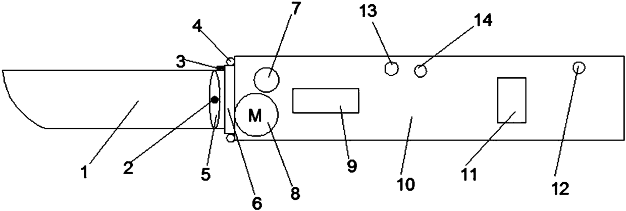
心内科介入手术刀
授权日
2016-08-10
公开(公告)号
CN205433839U
申请日
2016-03-31
公开(公告)日
2016-08-10
当前申请(专利权)人
李勇
发明人
李勇
简单同族
CN205433839U
简单同族成员数量
1
简单同族被引用专利总数
3
诉讼案件数
0
法律状态/事件
未缴年费
抱歉,您的浏览器不支持PDF预览,请点击链接下载PDF文件