专利数据库
统计分析
产业报告
专利数据监控
产业人才
行业动态
产业政策法规
维权援助
个人中心
详情
文本
图像
标题
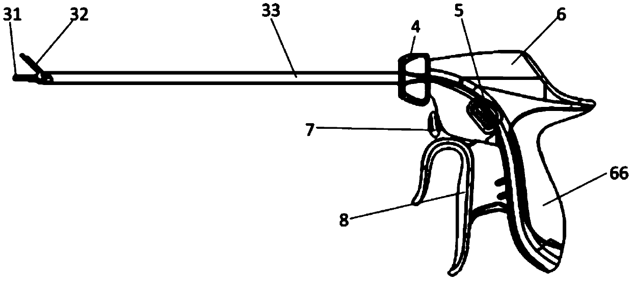
一种超声手术器械
授权日
2020-01-17
公开(公告)号
CN209951349U
申请日
2018-12-27
公开(公告)日
2020-01-17
当前申请(专利权)人
上海逸思医疗科技有限公司 | 逸思(苏州)医疗科技有限公司
发明人
聂红林 | 陈继东 | 李枝东 | 朱国征 | 常王桃 | 张广斌 | 顾晓页
简单同族
CN209951349U
简单同族成员数量
1
简单同族被引用专利总数
0
诉讼案件数
0
法律状态/事件
授权
抱歉,您的浏览器不支持PDF预览,请点击链接下载PDF文件