专利数据库
统计分析
产业报告
专利数据监控
产业人才
行业动态
产业政策法规
维权援助
个人中心
详情
文本
图像
标题
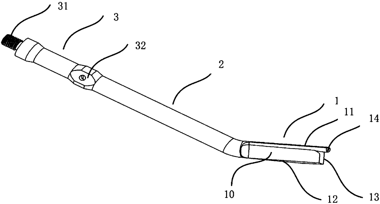
一种超声刀刀头
授权日
2018-05-04
公开(公告)号
CN207306710U
申请日
2017-03-10
公开(公告)日
2018-05-04
当前申请(专利权)人
江苏水木天蓬科技有限公司
发明人
菅凤增 | 曹群 | 战松涛
简单同族
AU2018232045A1 | AU2018232045B2 | CN207306710U | EP3593743A1 | JP2020508761A | KR1020190112152A | MX2019010705A | US20200029996A1 | WO2018161772A1
简单同族成员数量
9
简单同族被引用专利总数
0
诉讼案件数
0
法律状态/事件
授权
抱歉,您的浏览器不支持PDF预览,请点击链接下载PDF文件