专利数据库
统计分析
产业报告
专利数据监控
产业人才
行业动态
产业政策法规
维权援助
个人中心
详情
文本
图像
标题
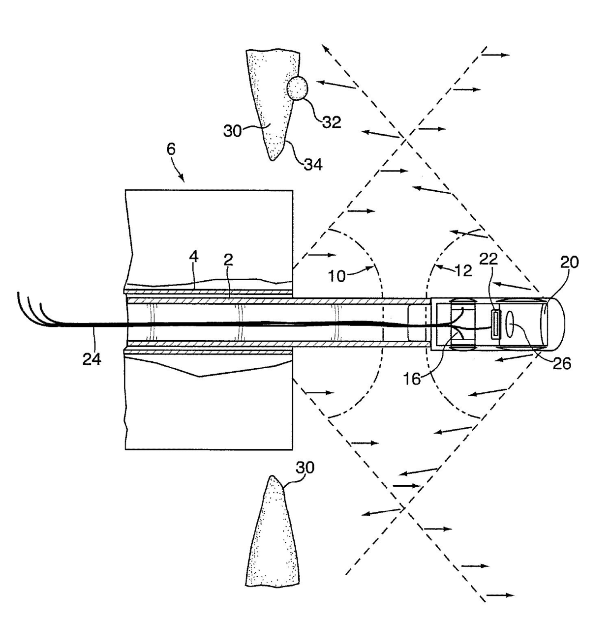
발명의 명칭 체내 캐비티의 내부 표면을 이미지화하는 방법 및 장치
授权日
1900-01-01
公开(公告)号
KR1020130112709A
申请日
2011-05-10
公开(公告)日
2013-10-14
当前申请(专利权)人
나나메드, 엘엘씨
发明人
하다니론 | 하라마티라이어
简单同族
AU2011250972A1 | CA2835495A1 | CN102984993A | EP2568868A1 | EP2568868A4 | JP2013526348A | JP2013526348A5 | KR1020130112709A | US20110295061A1 | US8734334 | WO2011143264A1
简单同族成员数量
11
简单同族被引用专利总数
72
诉讼案件数
0
法律状态/事件
撤回
抱歉,您的浏览器不支持PDF预览,请点击链接下载PDF文件